default
Правительство Саратовской области
Официальный портал
Саратовская область выбирает вектор лидерства
В. В. Радаев
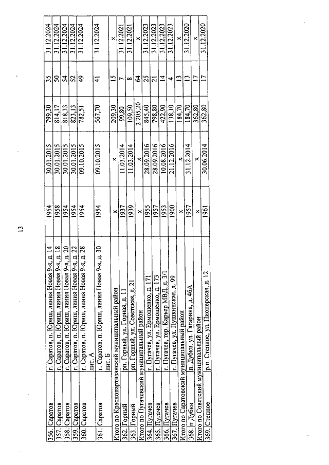
Постановление Правительства Саратовской области от 01.04.2019 N 212-П "Об утверждении областной адресной программы "Переселение граждан из аварийного жилищного фонда"
Показывать страниц:
1
10
100
Для качественной печати:
PDF-файл документа (3 Мб)
<<
<
21
22
23
24
25
26
27
28
29
30
31
>
>>
Страница
26
из
40
<<
<
21
22
23
24
25
26
27
28
29
30
31
>
>>